QDL、QDLF型不锈钢立式多级离心泵(简称:QDL、QDLF多级泵),系属轻型不锈钢制立式多级离心泵类产品。具有以下特点:
低噪声:配置Y2型优型电机运行平稳,噪声低
无泄漏:特选机械密封,科学的加工工艺,专业技术的保证,实现了"无泄漏"的追求
拆装简便:刚性联轴器,花键泵轴设计,且重理相比铸铁泵减轻约50%,操作性更好
安装便捷:进、出水口在同一水平面,对管路要求降低,且管路使用更可靠,稳定性高
泵房建筑投资更少:在原来立式多级泵的基础上进行革新,体积小,占地面积小
避免水质的第二次污染:导流部件、轴等用不锈钢制造,克服了铸铁泵污染严重的缺点,保证了水质的质量
无锈蚀困扰:采用不锈钢套筒,更好的适应各种环境,永不生锈
寿命更长:不锈钢板材冲压、焊接叶轮,重量轻、平衡性好,运行稳定
维护费用低:采用水润承设计,运行更可靠,无须润滑保养
高效节能:更优水力模型、光滑的过流部件,大大提高了机械效率

QDL、QDLF多级泵产品范围
| 说明/ | QDL2 | QDL4 | QDL8 | QDL16 | QDL32 |
| 额定流量/ [m3/h] | 2 | 4 | 8 | 16 | 32 |
| 额定流量/ [1/s] | 0.56 | 1.1 | 2.2 | 4.4 | 8.9 |
| 流量范围/ [m3/h] | 1~3.5 | 1.5~8 | 5~12 | 8~22 | 16~40 |
| 流量范围/ [1/s] | 0.28~0.97 | 0.42~2.2 | 1.4~3.3 | 2.2~6.1 | 4.4~11.1 |
| 最大压力/ [bar] | 23 | 21 | 21 | 22 | 26 |
| 电机功率/ [kw] | 0.37~3 | 0.37~4 | 0.75~7.5 | 2.2~15 | 1.5~30 |
| 温度范围/ [°C] | -15~+120 | ||||
| 最高效率 | 46 | 59 | 64 | 70 | 76 |
| 类型 | |||||
| QDL | |||||
| QDLF | |||||
| QDLF管路联接 | |||||
| DIN法兰 | DN25 | DN32 | DN40 | DN50 | DN65 |
| 管螺纹 | |||||
QDL、QDLF多级泵应用范围
QDL/QDLF是一种多功能产品,可以输送从自来水到工业液体的各种不同介质,适应于不同温度、流量和压力范围,QDL适应于无腐蚀性液体,QDLF适用于轻度腐蚀性液体。供水:水厂过滤器与输送、水厂分区送水、主管增压、高层建筑增压。工业增压:流程水系统、清洗系统、高压冲洗系统、消防系统。工业液体输送:冷却和空调系统、锅炉给水和冷凝系统、机床配套、酸和碱。水处理:超滤系统、反渗透系统、蒸馏系统、分离器、游泳池。灌溉:农田灌溉、喷灌、滴灌。
QDL、QDLF多级泵运行条件
介质:稀薄、干净、非易燃易爆并不含固体颗粒或纤维的液体。 液体温度:常温型-15°C至+70°C。 热水型:+70°C至+120°C。 环境温度:最高+40°C。 海拔:最高1000m。
QDL、QDLF多级泵泵体与电机
QDL/QDLF为安装标准电机的非自吸不锈钢立式多级泵,电机轴通过泵头用联轴器直接与泵轴联接,拉杆螺栓将耐压筒、过流部件固定在泵头和进出水段之间,泵进出水口在泵底同一直线上;本泵可规格需要配置智能保护器,对泵干转、缺相、过载等进行有效保护。 电机为全封闭,风冷式二级标准电机。防护等级:IP55;绝缘等级:F; 标准电压:50Hz:1×220-230/240V;3×200-220/346-380V;3×220-240/380-415V;3×380-415V
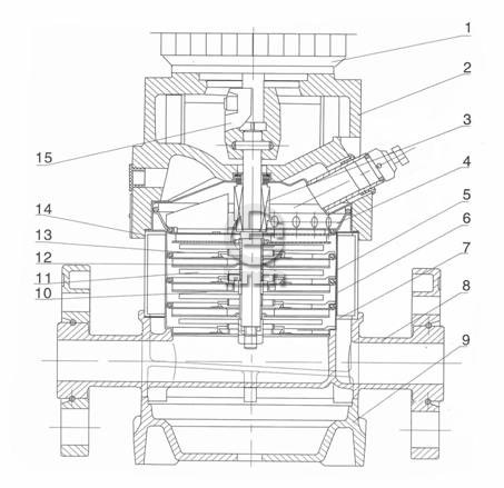
QDL、QDLF多级泵截面图QDL,QDLF2,4

QDL、QDLF多级离心泵 材料QDL,QDLF2,4
| 序号 | 名称 | 材料 | AISI | 序号 | 名称 | 材料 | AISI |
| 1 | 电 机 | 9 | 底座 | 铸铁 | ASTM25B | ||
| 2 | 电 机 座 | 铸铁 | ASTM25B | 10 | 轴承 | 碳化钨 | AISI304 |
| 3 | 机械密封 | 11 | 叶轮 | 不锈钢 | AISI316 | ||
| 4 | 出口导流器 | 不锈钢 | AISI304 | 12 | 轴 | 不锈钢 | AISI304 |
| 5 | 带轴承座导流器 | 不锈钢 l | AISI304 | 13 | 叶轮隔 | 不锈钢 | AISI304 |
| 6 | 导流器 | 不锈钢 | AISI304 | 14 | 耐压筒 | 不锈钢 | |
| 7 | 进口导流器 | 不锈钢 | AISI304 | 15 | 联轴器 | 碳钢 | |
| 8 | 泵座 | 不锈钢 | ASTM25B | 橡胶零件 | FPM |
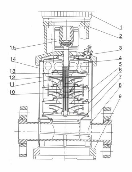
QDL、QDLF多级泵截面图QDL,QDLF8,16

QDL、QDLF多级泵材料QDL,QDLF8,16
| 序号 | 名称 | 材料 | AISI ASTM |
| 1 | 电 机 | ||
| 2 | 电 机 座 | 铸铁 | ASTM25B |
| 3 | 机械密封 | ||
| 4 | 出口导流器 | 不锈钢 | AISI304 |
| 5 | 带轴承座导流器 | 不锈钢 | AISI304 |
| 6 | 导流器 | 不锈钢 | AISI304 |
| 7 | 进口导流器 | 不锈钢 | AISI304 |
| 8 | 泵座 | 不锈钢 | AISI304 |
| 9 | 底座 | 铸铁 | ASTM25B |
| 10 | 轴承 | 碳化钨 | |
| 11 | 叶轮 | 不锈钢 | AISI304 |
| 12 | 轴 | 不锈钢 | AISI316 |
| 13 | 叶轮隔 | 不锈钢 | AISI304 |
| 14 | 耐压筒 | 不锈钢 | |
| 15 | 联轴器 | 碳钢 | |
| 橡胶零件 | FPM |
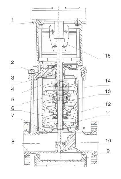
QDL、QDLF多级泵截面图QDL,QDLF32

QDL、QDLF多级泵材料QDL,QDLF32
| 序号 | 名称 | 材料 | AISI ASTM |
| 1 | 电 机 座 | 铸铁 | ASTM25B |
| 3 | 机械密封 | 碳化钨 | |
| 4 | 出口导流器 | 不锈钢 | AISI304 |
| 5 | 带轴承座导流器 | 不锈钢 | AISI304 |
| 6 | 导流器 | 不锈钢 | AISI304 |
| 7 | 进口导流器 | 不锈钢 | AISI304 |
| 9 | 底座 | 铸铁 | ASTM25B |
| 10 | 下轴承 | 碳化钨 | |
| 11 | 叶轮 | 不锈钢 | AISI304 |
| 12 | 轴 | 不锈钢 | AISI316 |
| 13 | 中间轴套 | 碳化钨 | |
| 14 | 耐压筒 | 不锈钢 | AISI304 |
| 15 | 联轴器 | 碳钢 | |
| 橡胶零件 | FPM | ||
| QDL | |||
| 2 | 泵端座 | 铸铁 | ASTM25B |
QDL、QDLF多级泵型号含义

QDL、QDLF多级泵最大进口压力
| 型号 | 最大进口压力 |
| QDL, QDLF2 | |
| QDL,QDLF2-20 | 6[bar] |
| QDL,QDLF2-30~2-110 | 10[bar] |
| QDL,QDLF-130~2-260 | 15[bar] |
| QDL,QDLF4 | |
| QDL,QDLF4-20 | 6[bar] |
| QDL,QDLF4-30~4-100 | 10[bar] |
| QDL,QDLF4-120~4-220 | 15[bar] |
| QDL,QDLF8 | |
| QDL,QDLF8-20/1~8-60 | 6[bar] |
| QDL,QDLF8-80~8-200 | 10[bar] |
| QDL,QDLF16 | |
| QDL,QDLF16-20~16-30 | 6[bar] |
| QDL,QDLF16-40~16-160 | 10[bar] |
| QDL,QDLF32 | |
| QDL,QDLF32-10-1~32-20-2 | 3[bar] |
| QDL,QDLF32-20~32-40 | 4[bar] |
| QDL,QDLF32-50-2~32-100 | 10[bar] |
| QDL,QDLF32-110-2~32-140 | 15[bar] |
QDL、QDLF多级泵最大工作压力
| 型号 | 曲线号 |
| QDL,QDLF2 | |
| QDL,QDLF2-20~150 | 1 |
| QDL,QDLF2-180~2-260 | 2 |
| QDL,QDLF4 | |
| QDL,QDLF4-20~4-140 | 1 |
| QDL,QDLF4-160~4-220 | 2 |
| QDL,QDLF8 | |
| QDL,QDLF8-20/1~8-120 | 1 |
| QDL,QDLF8-140~8-200 | 3 |
| QDL,QDLF16 | |
| QDL,QDLF16-20~16-80 | 1 |
| QDL,QDLF16-100~16-160 | 3 |
| QDL,QDLF32 | |
| QDL,QDLF32-10-1~32-70 | 1 |
| QDL,QDLF32-80-2~32-120 | 4 |
| QDL,QDLF32-130-2~32-140 | 5 |
QDL、QDLF2系列多级泵尺寸和重量
| 泵型号 | 尺寸(毫米) | 重量 (公斤) | ||||
| B1 | B2 | B1+ B2 | D1 | D2 | ||
| QDL2-20 | 220 | 225 | 445 | 145 | 110 | 20 |
| QDL2-30 | 238 | 225 | 463 | 145 | 110 | 20 |
| QDL2-40 | 256 | 225 | 481 | 145 | 110 | 20 |
| QDL2-50 | 274 | 225 | 499 | 145 | 110 | 20 |
| QDL2-60 | 297 | 225 | 522 | 145 | 110 | 25 |
| QDL2-70 | 315 | 225 | 540 | 145 | 110 | 25 |
| QDL2-90 | 351 | 245 | 596 | 170 | 150 | 30 |
| QDL2-110 | 387 | 245 | 632 | 170 | 150 | 30 |
| QDL2-130 | 440 | 245 | 685 | 170 | 150 | 35 |
| QDL2-150 | 476 | 245 | 721 | 170 | 150 | 35 |
| QDL2-180 | 530 | 265 | 795 | 180 | 155 | 40 |
| QDL2-220 | 602 | 265 | 867 | 180 | 155 | 45 |
| QDL2-260 | 682 | 290 | 972 | 180 | 155 | 50 |
QDL、QDLF2系列多级泵性能表
| 泵型号 | 配用电机(KW) | Q m3/h | 1 | 1.2 | 1.6 | 2.0 | 2.4 | 2.8 | 3.2 | 3.5 |
| QDL2-20 | 0.37 | Hm | 18 | 17 | 16 | 15 | 13 | 12 | 10 | 8 |
| QDL2-30 | 0.37 | 27 | 26 | 24 | 22 | 20 | 18 | 15 | 12 | |
| QDL2-40 | 0.55 | 36 | 35 | 33 | 30 | 26 | 24 | 20 | 16 | |
| QDL2-50 | 0.55 | 45 | 43 | 40 | 37 | 33 | 30 | 24 | 20 | |
| QDL2-60 | 0.75 | 53 | 52 | 50 | 45 | 40 | 36 | 30 | 24 | |
| QDL2-70 | 0.75 | 60 | 61 | 57 | 52 | 47 | 41 | 35 | 28 | |
| QDL2-90 | 1.1 | 80 | 78 | 73 | 67 | 61 | 54 | 45 | 37 | |
| QDL2-110 | 1.1 | 98 | 95 | 89 | 82 | 73 | 64 | 54 | 44 | |
| QDL2-130 | 1.5 | 116 | 114 | 106 | 98 | 89 | 78 | 65 | 52 | |
| QDL2-150 | 1.5 | 134 | 130 | 123 | 112 | 100 | 90 | 73 | 60 | |
| QDL2-180 | 2.2 | 161 | 157 | 148 | 136 | 121 | 108 | 91 | 76 | |
| QDL2-220 | 2.2 | 197 | 192 | 180 | 165 | 148 | 130 | 110 | 90 | |
| QDL2-260 | 3.0 | 232 | 228 | 214 | 198 | 179 | 158 | 130 | 110 |
QDL、QDLF4系列多级泵尺寸和重量
| 泵型号 | 尺寸(毫米) | 重量 (公斤) | ||||
| B1 | B2 | B1+ B2 | D1 | D2 | ||
| QDL4-20 | 235 | 225 | 460 | 145 | 110 | 20 |
| QDL4-30 | 265 | 225 | 490 | 145 | 110 | 20 |
| QDL4-40 | 295 | 225 | 520 | 145 | 110 | 20 |
| QDL4-50 | 325 | 245 | 570 | 170 | 150 | 20 |
| QDL4-60 | 350 | 245 | 595 | 170 | 150 | 20 |
| QDL4-80/7 | 420 | 245 | 665 | 170 | 150 | 25 |
| QDL4-80 | 420 | 245 | 665 | 170 | 150 | 25 |
| QDL4-100 | 475 | 265 | 740 | 180 | 155 | 30 |
| QDL4-120 | 530 | 265 | 795 | 180 | 155 | 30 |
| QDL4-160/4 | 645 | 290 | 935 | 180 | 155 | 35 |
| QDL4-160 | 645 | 290 | 935 | 180 | 155 | 35 |
| QDL4-190 | 725 | 325 | 1050 | 210 | 180 | 35 |
| QDL4-220 | 805 | 325 | 1130 | 210 | 180 | 40 |
QDL、QDLF4系列多级泵性能表
| 泵型号 | 配用电机(KW) | Q m3/h | 1.5 | 2.0 | 3.0 | 4.0 | 5.0 | 6.0 | 7.0 | 8.0 |
| QDL4-20 | 0.37 | Hm | 19 | 18 | 17 | 15 | 13 | 10 | 8 | 6 |
| QDL4-30 | 0.55 | 28 | 27 | 26 | 24 | 20 | 18 | 13 | 10 | |
| QDL4-40 | 0.75 | 38 | 36 | 34 | 32 | 27 | 24 | 19 | 13 | |
| QDL4-50 | 1.1 | 47 | 45 | 43 | 40 | 34 | 31 | 23 | 17 | |
| QDL4-60 | 1.1 | 56 | 54 | 52 | 48 | 41 | 37 | 28 | 20 | |
| QDL4-80/7 | 1.5 | 66 | 63 | 61 | 56 | 48 | 43 | 33 | 24 | |
| QDL4-80 | 1.5 | 74 | 72 | 70 | 64 | 55 | 50 | 38 | 27 | |
| QDL4-100 | 2.2 | 96 | 90 | 87 | 81 | 71 | 62 | 48 | 34 | |
| QDL4-120 | 2.2 | 114 | 108 | 104 | 95 | 85 | 75 | 58 | 41 | |
| QDL4-160/4 | 3.0 | 136 | 126 | 122 | 112 | 101 | 89 | 68 | 48 | |
| QDL4-160 | 3.0 | 152 | 144 | 140 | 129 | 115 | 101 | 78 | 55 | |
| QDL4-190 | 4.0 | 183 | 171 | 168 | 153 | 137 | 122 | 93 | 67 | |
| QDL4-220 | 4.0 | 211 | 200 | 192 | 178 | 160 | 138 | 108 | 79 |
QDL、QDLF8系列多级泵尺寸和重量
| 泵型号 | 尺寸(毫米) | 重量 (公斤 | |||||
| B1 | B2 | B1+ B2 | D1 | D2 | D3 | ||
| QDL8-20 | 350 | 225 | 575 | 145 | 110 | 25 | |
| QDL8-30 | 380 | 245 | 625 | 170 | 150 | 30 | |
| QDL8-40 | 425 | 245 | 670 | 170 | 150 | 30 | |
| QDL8-50 | 455 | 265 | 720 | 180 | 155 | 40 | |
| QDL8-60 | 485 | 265 | 750 | 180 | 155 | 40 | |
| QDL8-80 | 550 | 290 | 840 | 180 | 155 | 45 | |
| QDL8-100 | 610 | 325 | 935 | 210 | 180 | 55 | |
| QDL8-120 | 670 | 325 | 995 | 210 | 180 | 55 | |
| QDL8-140 | 750 | 395 | 1145 | 230 | 190 | 300 | 80 |
| QDL8-160 | 810 | 395 | 1205 | 230 | 190 | 300 | 80 |
| QDL8-180 | 870 | 435 | 1305 | 270 | 210 | 300 | 90 |
| QDL8-200 | 930 | 435 | 1365 | 270 | 210 | 300 | 90 |
QDL、QDLF8系列多级泵性能表
| 泵型号 | 配用电机(KW) | Q m3/h | 5 | 6 | 7 | 8 | 9 | 10 | 11 | 12 |
| QDL8-20 | 0.75 | Hm | 21 | 20 | 19 | 18 | 17 | 16 | 15 | 14 |
| QDL8-30 | 1.1 | 31 | 30 | 29 | 28 | 26 | 24 | 23 | 20 | |
| QDL8-40 | 1.5 | 41 | 40 | 39 | 37 | 35 | 32 | 30 | 27 | |
| QDL8-50 | 2.2 | 52 | 50 | 48 | 46 | 44 | 41 | 37 | 34 | |
| QDL8-60 | 2.2 | 62 | 60 | 58 | 55 | 53 | 49 | 45 | 41 | |
| QDL8-80 | 3.0 | 83 | 80 | 78 | 74 | 70 | 65 | 60 | 54 | |
| QDL8-100 | 4.0 | 104 | 100 | 97 | 92 | 88 | 80 | 75 | 68 | |
| QDL8-120 | 4.0 | 125 | 120 | 116 | 110 | 105 | 97 | 90 | 81 | |
| QDL8-140 | 5.5 | 146 | 140 | 136 | 129 | 123 | 113 | 105 | 95 | |
| QDL8-160 | 5.5 | 166 | 160 | 155 | 147 | 140 | 130 | 120 | 108 | |
| QDL8-180 | 7.5 | 187 | 180 | 175 | 166 | 158 | 146 | 135 | 122 | |
| QDL8-200 | 7.5 | 208 | 200 | 194 | 185 | 175 | 162 | 150 | 135 |
QDL、QDLF16系列多级泵尺寸和重量
| 泵型号 | 尺寸(毫米) | 重量 (公斤 | |||||
| B1 | B2 | B1+ B2 | D1 | D2 | D3 | ||
| QDL16-30/2 | 455 | 265 | 720 | 180 | 155 | 40 | |
| QDL16-30 | 455 | 290 | 745 | 180 | 155 | 50 | |
| QDL16-40 | 500 | 325 | 825 | 210 | 180 | 55 | |
| QDL16-50 | 565 | 395 | 960 | 230 | 190 | 300 | 70 |
| QDL16-60 | 610 | 395 | 1005 | 230 | 190 | 300 | 75 |
| QDL16-70 | 655 | 435 | 1090 | 270 | 210 | 300 | 80 |
| QDL16-80 | 700 | 435 | 1135 | 270 | 210 | 300 | 80 |
| QDL16-100 | 820 | 490 | 1310 | 330 | 255 | 350 | 115 |
| QDL16-120 | 910 | 490 | 1400 | 330 | 255 | 350 | 115 |
| QDL16-140 | 1000 | 490 | 1490 | 330 | 255 | 350 | 160 |
| QDL16-160 | 1090 | 490 | 1580 | 330 | 255 | 350 | 165 |
QDL、QDLF16系列多级泵性能表
| 泵型号 | 配用电机(KW) | Q m3/h | 8 | 10 | 12 | 14 | 16 | 18 | 20 | 22 |
| QDL16-30/2 | 2.2 | Hm | 28 | 27 | 26 | 25 | 23 | 21 | 19 | 17 |
| QDL16-30 | 3.0 | 42 | 41 | 39 | 37 | 35 | 32 | 29 | 26 | |
| QDL16-40 | 4.0 | 56 | 54 | 52 | 50 | 47 | 44 | 38 | 34 | |
| QDL16-50 | 5.5 | 69 | 68 | 65 | 62 | 59 | 54 | 48 | 43 | |
| QDL16-60 | 5.5 | 83 | 81 | 78 | 75 | 70 | 64 | 58 | 52 | |
| QDL16-70 | 7.5 | 97 | 95 | 92 | 87 | 82 | 75 | 68 | 61 | |
| QDL16-80 | 7.5 | 111 | 108 | 105 | 100 | 94 | 86 | 77 | 70 | |
| QDL16-100 | 11 | 139 | 136 | 131 | 125 | 118 | 108 | 97 | 87 | |
| QDL16-120 | 11 | 167 | 163 | 157 | 150 | 141 | 129 | 116 | 105 | |
| QDL16-140 | 15 | 194 | 190 | 184 | 175 | 165 | 151 | 136 | 122 | |
| QDL16-160 | 15 | 222 | 217 | 210 | 200 | 189 | 173 | 155 | 140 |
QDL、QDLF多级泵并联运行
将多台泵并联取代一台大泵可能更具优越性。在变流量系统中,适应系统所需工作点。增加供水可能性,因为当泵出故障时,仅影响系统的部分流量 检查确保不会/没有处于气蚀状态 如果工作需求变化考虑将两台或更多台并联
订购注意事项:
1.本网页显示的QDL、QDLF型不锈钢立式多级离心泵安装尺寸、外形尺寸、图片、流量、扬程、功率、参数表等样本信息,为”LQ牌“离心泵厂家上海连渠泵业所有,请勿转载,转载必究。
2.上海连渠泵业有限公司是一家专业的离心泵生产厂家/制造商。生产的QDL、QDLF型不锈钢立式多级离心泵,质量可靠,价格合理,如果还需要了解其他(离心泵),请来电咨询,我们也可根据客户要求专门定制。
3.由于编辑水平有限,以上信息仅作参考之用,错误和不妥之处在所难免,真诚希望您批评指正。
离心泵有立式、卧式、单级、多级、单吸、双吸、自吸式等多种形式。其主要的工作原理有:离心是物体惯性的表现。比如雨伞上的水滴,当雨伞缓慢转动时,水滴会 跟随雨伞转动,这是因为雨伞与水滴的摩擦力做为给水滴的向心力使然。但是如果雨伞转动加快,这个摩擦力不足以使水滴在做圆周运动,那么水滴将脱离雨伞向外缘运动产生离心力,离心泵 就是根据这样的原理设计的产品。 离心泵引就是根据离心力原理设计的,高速旋转的叶轮叶片带动水转动,将水甩出,从而达到输送的的。离心泵有好多种,上海连渠泵业主要生产的离心泵 有SLB型便拆式管道离心泵、XWJ型无堵塞纸浆泵、GDL型多级管道离心泵、卧式管道离心泵、ISGD型低转速管道离心泵、单级单吸清水(热水)离心泵、不锈钢立式多级离心泵等系列离心泵产 品。