JYWQ、JPWQ系列自动搅匀排污泵(简称JYWQ、JPWQ排污泵),系属新型带自动搅匀功能产品。是在普通型排污泵的基础上采用自动搅拌装置,该装置随电机轴旋转,产生极强的搅拌力,将污水池内的沉积物搅拌成悬浮物,吸入泵内排出,提高了泵的防堵、排污能力,一次性完成了排水、清污、除淤,节约了运行成本,是具有明显的先进性和实用性的环保产品。

型号说明

1、 注:JYWQ为普通型自动搅匀排污泵 JPWQ为带不锈钢外套内循环冷却系统的自动搅匀排污泵
产品用途
1、 工厂、商业严重污染废水的排放。
2、 城市污水处理厂、医院、宾馆的排水系统。
3、 住宅区的污水排水站。
4、 人防系统排水站、自来水厂的给水装置。
5、 市政工程、建筑工地。
6、 勘探、矿山、发电厂配套附机。
7、 农村沼气池、农田灌溉、河塘清淤。
使用条件
1、 介质温度不超过60°C,介质重度为1~1.3kg/dm3,PH值在4~10范围内。
2、 1Crl8Ni9Ti不锈钢材质可适用各种腐蚀性介质。
注:用户如有特殊的介质、温度等要求,请在订货时注明输送介质详细情况,以便本公司提供更为可靠之产品。

特点说明

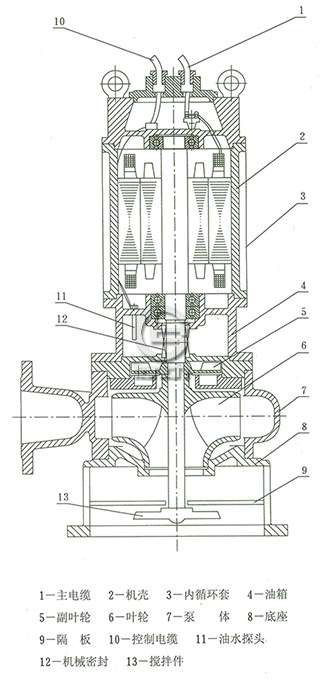
1、 采用独特的双流道无堵塞叶轮结构,提高污水污物的过流能力和排污能力。
2、 自动搅拌装置,产生极强的搅拌力,将池内的沉淀物搅拌成悬浮物后吸入叶轮排出,达到清淤的作用。
3、 隔板将底座一分为二,搅拌与进水互不影响。
4、 机械密封为双端面机械密封,长期处于油室中,保证水泵安全可靠地运行。
5、 副叶轮结构的流体动力密封,既有辅助密封作用,从而保护机械密封,又平衡轴向力,延长轴承的使用寿命。
6、 泵接线腔内设有漏水检测探头,出现漏水时,探水时,探头发出信号,控制系统对泵实施保护。本公司可配全自动安全保护控制柜。
7、 电机定子采用B级和F级绝缘,内设热保护器,当电机过载发热,保护器及时作出动作,对泵和电机实施相对的保护。
8、 油室内装有油水探头,当机械密封损坏后,水进入油室,探头发出信号,由控制系统对水泵实施保护。
9、 JPWQ带内循环冷却系统,能保证水泵在水池最低水位正常工作。
性能参数
| 序号 | 型号 | 排出口径 (mm) |
额定流量 (m3/h) |
额定扬程 (m) |
搅拌直径 (mm) |
转速 (r/min) |
功率 (kw) |
效率 () |
自动 耦合器 |
| 1 | 50-12-15-1200-1.5 | 50 | 12 | 15 | 1200 | 2900 | 1.5 | 48 | GAK-50 |
| 2 | 50-20-7-1200-1.1 | 50 | 20 | 7 | 1200 | 2900 | 1.1 | 62 | GAK-50 |
| 3 | 50-10-10-1200-1.1 | 50 | 10 | 10 | 1200 | 2900 | 1.1 | 56 | GAK-50 |
| 4 | 50-15-15-1200-2.2 | 50 | 15 | 15 | 1200 | 2900 | 2.2 | 51 | GAK-50 |
| 5 | 50-25-10-1200-2.2 | 50 | 25 | 10 | 1200 | 2900 | 2.2 | 65 | GAK-50 |
| 6 | 50-15-20-1200-2.2 | 50 | 15 | 20 | 1200 | 2900 | 2.2 | 56 | GAK-50 |
| 7 | 50-20-15-1200-2.2 | 50 | 20 | 15 | 1200 | 2900 | 2.2 | 56 | GAK-50 |
| 8 | 50-42-9-1200-3 | 50 | 42 | 9 | 1200 | 2900 | 3 | 56 | GAK-50 |
| 9 | 50-17-25-1200-4 | 50 | 17 | 25 | 1200 | 2900 | 4 | 56 | GAK-50 |
| 10 | 50-25-22-1200-4 | 50 | 25 | 22 | 1200 | 2900 | 4 | 62 | GAK-50 |
| 11 | 50-40-15-1400-4 | 50 | 40 | 15 | 1400 | 2900 | 4 | 70 | GAK-50 |
| 12 | 50-25-32-1600-5.5 | 50 | 25 | 32 | 1600 | 2900 | 5.5 | 52 | GAK-50 |
| 13 | 50-40-30-1600-7.5 | 50 | 40 | 30 | 1600 | 2900 | 7.5 | 68 | GAK-50 |
| 14 | 65-25-15-1400-3 | 65 | 25 | 15 | 1400 | 2900 | 3 | 65 | GAK-65 |
| 15 | 65-37-13-1400-3 | 65 | 37 | 13 | 1400 | 2900 | 3 | 62 | GAK-65 |
| 16 | 65-25-28-1400-4 | 65 | 25 | 28 | 1400 | 2900 | 4 | 60 | GAK-65 |
| 17 | 80-40-7-1600-2.2 | 80 | 40 | 7 | 1600 | 2900 | 2.2 | 54 | GAK-80 |
| 18 | 80-29-8-1600-2.2 | 80 | 29 | 8 | 1600 | 2900 | 2.2 | 54 | GAK-80 |
| 19 | 80-43-13-1600-4 | 80 | 43 | 13 | 1600 | 2900 | 4 | 63 | GAK-80 |
| 20 | 80-50-10-1600-3 | 80 | 50 | 10 | 1600 | 1450 | 3 | 76 | GAK-80 |
| 21 | 80-40-15-1600-4 | 80 | 40 | 15 | 1600 | 2900 | 4 | 70 | GAK-80 |
| 22 | 80-60-13-1600-4 | 80 | 60 | 13 | 1600 | 2900 | 4 | 70 | GAK-80 |
| 23 | 80-35-25-1600-5.5 | 80 | 35 | 25 | 1600 | 2900 | 5.5 | 64 | GAK-80 |
| 24 | 80-50-30-1600-7.5 | 80 | 50 | 30 | 1600 | 2900 | 7.5 | 70 | GAK-80 |
| 25 | 80-50-30-1600-7.5 | 80 | 50 | 30 | 1600 | 2900 | 7.5 | 70 | GAK-80 |
| 26 | 100-80-9-2000-4 | 100 | 80 | 9 | 2000 | 1450 | 4 | 62 | GAK-100 |
| 27 | 100-110-10-2000-5.5 | 100 | 110 | 10 | 2000 | 1450 | 5.5 | 71 | GAK-100 |
| 28 | 100-70-15-2000-5.5 | 100 | 70 | 15 | 2000 | 1450 | 5.5 | 71 | GAK-100 |
| 29 | 100-100-15-2000-7.5 | 100 | 100 | 15 | 2000 | 1450 | 7.5 | 73 | GAK-100 |
| 30 | 100-80-20-2000-7.5 | 100 | 80 | 20 | 2000 | 2900 | 7.5 | 71 | GAK-100 |
| 31 | 100-50-35-2000-11 | 100 | 50 | 35 | 2000 | 2900 | 11 | 68 | GAK-100 |
| 32 | 100-70-22-2000-7.5 | 100 | 70 | 22 | 2000 | 2900 | 7.5 | 70 | GAK-100 |
| 33 | 100-100-22-2000-15 | 100 | 100 | 22 | 2000 | 1450 | 15 | 61 | GAK-100 |
| 34 | 100-80-30-2000-15 | 100 | 80 | 30 | 2000 | 1450 | 15 | 67 | GAK-100 |
| 35 | 150-150-10-2000-7.5 | 150 | 150 | 10 | 2000 | 1450 | 7.5 | 75 | GAK-150 |
| 36 | 150-210-7-2500-7.5 | 150 | 210 | 7 | 2500 | 1450 | 7.5 | 78 | GAK-150 |
| 37 | 150-250-6-2500-7.5 | 150 | 250 | 6 | 2500 | 1450 | 7.5 | 79 | GAK-150 |
| 38 | 150-150-15-2500-11 | 150 | 150 | 15 | 2500 | 1450 | 11 | 79 | GAK-150 |
| 39 | 150-200-10-2500-15 | 150 | 200 | 10 | 2500 | 1450 | 15 | 73 | GAK-150 |
| 40 | 150-65-40-3200-18.5 | 150 | 65 | 40 | 3200 | 1450 | 18.5 | 58 | GAK-150 |
| 41 | 150-180-22-2600-18.5 | 15 | 180 | 22 | 2600 | 1450 | 18.5 | 75 | GAK-150 |
| 42 | 150-150-26-2600-18.5 | 150 | 150 | 26 | 2600 | 1450 | 18.5 | 72 | GAK-150 |
| 43 | 150-110-30-2600-18.5 | 150 | 110 | 30 | 2600 | 1450 | 18.5 | 72 | GAK-150 |
| 44 | 150-130-15-2600-22 | 150 | 130 | 15 | 2600 | 1450 | 22 | 76 | GAK-150 |
| 45 | 150-130-30-2600-22 | 150 | 130 | 30 | 2600 | 1450 | 22 | 70 | GAK-150 |
| 46 | 150-100-40-3000-30 | 150 | 100 | 40 | 3000 | 1450 | 30 | 64 | GAK-150 |
| 47 | 200-300-7-3000-11 | 200 | 300 | 7 | 3000 | 1450 | 11 | 75 | GAK-200 |
| 48 | 200-250-11-3000-15 | 200 | 250 | 11 | 3000 | 1450 | 15 | 72 | GAK-200 |
| 49 | 200-300-10-3000-15 | 200 | 300 | 10 | 3000 | 1450 | 15 | 75 | GAK-200 |
| 50 | 200-250-15-3000-18.5 | 200 | 250 | 15 | 3000 | 1450 | 18.5 | 72 | GAK-200 |
| 51 | 200-400-10-3000-22 | 200 | 400 | 10 | 3000 | 1450 | 22 | 75 | GAK-200 |
| 52 | 200-200-20-3000-22 | 200 | 200 | 20 | 3000 | 1450 | 22 | 73 | GAK-200 |
| 53 | 200-250-22-3000-30 | 200 | 250 | 22 | 3000 | 1450 | 30 | 73 | GAK-200 |
| 54 | 250-600-7-3000-22 | 250 | 600 | 7 | 3000 | 1450 | 22 | 78 | GAK-250 |
| 55 | 250-600-9-3000-30 | 250 | 600 | 9 | 3000 | 1450 | 30 | 78 | GAK-250 |
安装尺寸表及示意图

| 序号 | 型号 | A | B | C | D1 | D | H |
| 1 | 50-12-15-1200-1.5 | 135 | 400 | 245 | 225 | 255 | 670 |
| 2 | 50-20-7-1200-1.1 | 132 | 343 | 225 | 150 | 180 | 610 |
| 3 | 50-10-10-1200-1.1 | 132 | 343 | 225 | 150 | 180 | 610 |
| 4 | 50-15-15-1200-2.2 | 135 | 400 | 245 | 225 | 255 | 670 |
| 5 | 50-25-10-1200-2.2 | 135 | 400 | 245 | 225 | 255 | 670 |
| 6 | 50-15-20-1200-2.2 | 135 | 400 | 245 | 225 | 255 | 670 |
| 7 | 50-20-15-1200-2.2 | 135 | 400 | 245 | 225 | 255 | 670 |
| 8 | 50-42-9-1200-3 | 143 | 420 | 265 | 225 | 255 | 750 |
| 9 | 50-17-25-1200-4 | 130 | 433 | 265 | 240 | 285 | 750 |
| 10 | 50-25-22-1200-4 | 135 | 400 | 245 | 225 | 255 | 735 |
| 11 | 50-40-15-1400-4 | 143 | 420 | 265 | 225 | 255 | 750 |
| 12 | 50-25-32-1600-5.5 | 180 | 480 | 295 | 270 | 320 | 820 |
| 13 | 50-40-30-1600-7.5 | 180 | 480 | 295 | 270 | 320 | 820 |
| 14 | 65-25-15-1400-3 | 143 | 435 | 270 | 225 | 255 | 750 |
| 15 | 65-37-13-1400-3 | 143 | 435 | 270 | 225 | 255 | 750 |
| 16 | 65-25-28-1400-4 | 180 | 515 | 317 | 270 | 320 | 800 |
| 17 | 80-40-7-1600-2.2 | 143 | 465 | 295 | 225 | 255 | 685 |
| 18 | 80-29-8-1600-2.2 | 143 | 465 | 295 | 225 | 255 | 685 |
| 19 | 80-43-13-1600-4 | 143 | 465 | 295 | 225 | 255 | 750 |
| 20 | 80-50-10-1600-3 | 180 | 570 | 325 | 280 | 320 | 790 |
| 21 | 80-40-15-1600-4 | 143 | 465 | 395 | 225 | 255 | 750 |
| 22 | 80-60-13-1600-4 | 143 | 465 | 395 | 225 | 255 | 750 |
| 23 | 80-35-25-1600-5.5 | 180 | 550 | 305 | 270 | 320 | 820 |
| 24 | 80-50-30-1600-7.5 | 180 | 550 | 305 | 270 | 320 | 820 |
| 25 | 80-50-30-1600-7.5 | 180 | 550 | 305 | 270 | 320 | 820 |
| 26 | 100-80-9-2000-4 | 180 | 600 | 386 | 280 | 320 | 790 |
| 27 | 100-110-10-2000-5.5 | 200 | 700 | 440 | 370 | 410 | 900 |
| 28 | 100-70-15-2000-5.5 | 200 | 690 | 430 | 370 | 410 | 900 |
| 29 | 100-100-15-2000-7.5 | 200 | 700 | 440 | 370 | 410 | 900 |
| 30 | 100-80-20-2000-7.5 | 180 | 585 | 370 | 270 | 320 | 900 |
| 31 | 100-50-35-2000-11 | 180 | 585 | 370 | 270 | 320 | 940 |
| 32 | 100-70-22-2000-7.5 | 180 | 585 | 370 | 270 | 320 | 900 |
| 33 | 100-100-22-2000-15 | 230 | 815 | 515 | 455 | 495 | 970 |
| 34 | 100-80-30-2000-15 | 230 | 815 | 515 | 455 | 495 | 970 |
| 35 | 150-150-10-2000-7.5 | 213 | 775 | 495 | 360 | 405 | 920 |
| 36 | 150-210-7-2500-7.5 | 242 | 830 | 540 | 365 | 410 | 950 |
| 37 | 150-250-6-2500-7.5 | 242 | 830 | 540 | 365 | 410 | 950 |
| 38 | 150-150-15-2500-11 | 220 | 770 | 495 | 345 | 395 | 990 |
| 39 | 150-200-10-2500-15 | 220 | 770 | 495 | 345 | 395 | 990 |
| 40 | 150-65-40-3200-18.5 | 250 | 930 | 595 | 440 | 495 | 1206 |
| 41 | 150-180-22-2600-18.5 | 270 | 930 | 595 | 440 | 495 | 1226 |
| 42 | 150-150-26-2600-18.5 | 270 | 930 | 595 | 440 | 495 | 1226 |
| 43 | 150-110-30-2600-18.5 | 270 | 930 | 595 | 440 | 495 | 1226 |
| 44 | 150-130-15-2600-22 | 300 | 900 | 575 | 440 | 495 | 1265 |
| 45 | 150-130-30-2600-22 | 270 | 930 | 595 | 440 | 495 | 1226 |
| 46 | 150-100-40-3000-30 | 270 | 930 | 595 | 440 | 495 | 1200 |
| 47 | 200-300-7-3000-11 | 270 | 945 | 605 | 400 | 445 | 1130 |
| 48 | 200-250-11-3000-15 | 270 | 945 | 605 | 400 | 445 | 1130 |
| 49 | 200-300-10-3000-15 | 270 | 945 | 605 | 400 | 445 | 1130 |
| 50 | 200-250-15-3000-18.5 | 270 | 945 | 605 | 400 | 445 | 1226 |
| 51 | 200-400-10-3000-22 | 270 | 945 | 605 | 400 | 445 | 1226 |
| 52 | 200-200-20-3000-22 | 297 | 980 | 630 | 440 | 495 | 1236 |
| 53 | 200-250-22-3000-30 | 297 | 980 | 630 | 440 | 495 | 1236 |
安装尺寸表及示意图
| 序号 | 型号 | фA | фB | фC | N1-фd | H | K | G | H1 | p | H3 | h | g | p | f | y | N2-фk | J | R |
| 1 | 50-12-15-1200-1.5 | 50 | 110 | 140 | 4-ф14 | 670 | 265 | 165 | 280 | 450 | 50 | 20 | 260 | 230 | 310 | 210 | 4-ф16 | 185 | 115 |
| 2 | 50-20-7-1200-1.1 | 50 | 110 | 140 | 4-ф14 | 610 | 245 | 165 | 280 | 400 | 50 | 20 | 260 | 230 | 310 | 210 | 4-ф16 | 185 | 85 |
| 3 | 50-10-10-1200-1.1 | 50 | 110 | 140 | 4-ф14 | 610 | 245 | 165 | 280 | 400 | 50 | 20 | 260 | 230 | 310 | 210 | 4-ф16 | 185 | 85 |
| 4 | 50-15-15-1200-2.2 | 50 | 110 | 140 | 4-ф14 | 670 | 265 | 165 | 280 | 450 | 50 | 20 | 260 | 230 | 310 | 210 | 4-ф16 | 185 | 115 |
| 5 | 50-25-10-1200-2.2 | 50 | 110 | 140 | 4-ф14 | 670 | 265 | 165 | 280 | 450 | 50 | 20 | 260 | 230 | 310 | 210 | 4-ф16 | 185 | 115 |
| 6 | 50-15-20-1200-2.2 | 50 | 110 | 140 | 4-ф14 | 670 | 265 | 165 | 280 | 450 | 50 | 20 | 260 | 230 | 310 | 210 | 4-ф16 | 185 | 115 |
| 7 | 50-20-15-1200-2.2 | 50 | 110 | 140 | 4-ф14 | 670 | 265 | 165 | 280 | 450 | 50 | 20 | 260 | 230 | 310 | 210 | 4-ф16 | 185 | 115 |
| 8 | 50-42-9-1200-3 | 50 | 110 | 140 | 4-ф14 | 750 | 285 | 165 | 280 | 520 | 50 | 20 | 260 | 230 | 310 | 210 | 4-ф16 | 185 | 115 |
| 9 | 50-17-25-1200-4 | 50 | 110 | 140 | 4-ф14 | 750 | 285 | 165 | 280 | 520 | 50 | 20 | 260 | 230 | 310 | 210 | 4-ф16 | 185 | 115 |
| 10 | 50-25-22-1200-4 | 50 | 110 | 140 | 4-ф14 | 735 | 265 | 165 | 280 | 500 | 50 | 20 | 260 | 230 | 310 | 210 | 4-ф16 | 185 | 115 |
| 11 | 50-40-15-1400-4 | 50 | 110 | 140 | 4-ф14 | 750 | 285 | 165 | 280 | 510 | 50 | 20 | 260 | 230 | 310 | 210 | 4-ф16 | 185 | 115 |
| 12 | 50-25-32-1600-5.5 | 50 | 110 | 140 | 4-ф14 | 820 | 315 | 165 | 280 | 570 | 50 | 20 | 260 | 230 | 310 | 210 | 4-ф16 | 185 | 115 |
| 13 | 50-40-30-1600-7.5 | 50 | 110 | 140 | 4-ф14 | 820 | 315 | 165 | 280 | 570 | 50 | 20 | 260 | 230 | 310 | 210 | 4-ф16 | 185 | 115 |
| 14 | 65-25-15-1400-3 | 65 | 130 | 160 | 4-ф14 | 750 | 290 | 145 | 330 | 500 | 65 | 25 | 275 | 255 | 310 | 225 | 4-ф18 | 190 | 115 |
| 15 | 65-37-13-1400-3 | 65 | 130 | 160 | 4-ф14 | 750 | 290 | 145 | 330 | 500 | 65 | 25 | 275 | 255 | 310 | 225 | 4-ф18 | 190 | 115 |
| 16 | 65-25-28-1400-4 | 65 | 130 | 160 | 4-ф14 | 800 | 340 | 145 | 330 | 550 | 65 | 25 | 275 | 255 | 310 | 225 | 4-ф18 | 190 | 115 |
| 17 | 80-40-7-1600-2.2 | 80 | 150 | 190 | 4-ф18 | 685 | 285 | 150 | 360 | 470 | 80 | 25 | 285 | 260 | 335 | 255 | 4-ф18 | 225 | 115 |
| 18 | 80-29-8-1600-2.2 | 80 | 150 | 190 | 4-ф18 | 685 | 285 | 150 | 360 | 470 | 80 | 25 | 285 | 260 | 335 | 255 | 4-ф18 | 225 | 115 |
| 19 | 80-43-13-1600-4 | 80 | 150 | 190 | 4-ф18 | 750 | 285 | 150 | 360 | 510 | 80 | 25 | 285 | 260 | 335 | 255 | 4-ф18 | 225 | 115 |
| 20 | 80-50-10-1600-3 | 80 | 150 | 190 | 4-ф18 | 790 | 360 | 150 | 360 | 540 | 80 | 25 | 285 | 260 | 335 | 255 | 4-ф18 | 225 | 115 |
| 21 | 80-40-15-1600-4 | 80 | 150 | 190 | 4-ф18 | 750 | 285 | 150 | 360 | 510 | 80 | 25 | 285 | 260 | 335 | 255 | 4-ф18 | 225 | 165 |
| 22 | 80-60-13-1600-4 | 80 | 150 | 190 | 4-ф18 | 750 | 285 | 150 | 360 | 510 | 80 | 25 | 285 | 260 | 335 | 255 | 4-ф18 | 225 | 115 |
| 23 | 80-35-25-1600-5.5 | 80 | 150 | 190 | 4-ф18 | 820 | 345 | 150 | 360 | 570 | 80 | 25 | 285 | 260 | 335 | 255 | 4-ф18 | 225 | 115 |
| 24 | 80-50-30-1600-7.5 | 80 | 150 | 190 | 4-ф18 | 820 | 345 | 150 | 360 | 570 | 80 | 25 | 285 | 260 | 335 | 255 | 4-ф18 | 225 | 135 |
| 25 | 80-50-30-1600-7.5 | 80 | 150 | 190 | 4-ф18 | 820 | 345 | 150 | 360 | 570 | 80 | 25 | 285 | 260 | 335 | 255 | 4-ф18 | 225 | 135 |
| 26 | 100-80-9-2000-4 | 80 | 150 | 190 | 4-ф18 | 790 | 390 | 200 | 420 | 550 | 100 | 25 | 340 | 310 | 400 | 305 | 4-ф20 | 250 | 135 |
| 27 | 100-110-10-2000-5.5 | 100 | 170 | 210 | 4-ф18 | 900 | 445 | 200 | 420 | 600 | 100 | 25 | 340 | 310 | 400 | 305 | 4-ф20 | 250 | 165 |
| 28 | 100-70-15-2000-5.5 | 100 | 170 | 210 | 4-ф18 | 900 | 435 | 200 | 420 | 600 | 100 | 25 | 340 | 310 | 400 | 305 | 4-ф20 | 250 | 195 |
| 29 | 100-100-15-2000-7.5 | 100 | 170 | 210 | 4-ф18 | 900 | 445 | 200 | 420 | 600 | 100 | 25 | 340 | 310 | 400 | 305 | 4-ф20 | 250 | 195 |
| 30 | 100-80-20-2000-7.5 | 100 | 170 | 210 | 4-ф18 | 900 | 345 | 200 | 420 | 570 | 100 | 25 | 340 | 310 | 400 | 305 | 4-ф20 | 250 | 240 |
| 31 | 100-50-35-2000-11 | 100 | 170 | 210 | 4-ф18 | 940 | 345 | 200 | 420 | 650 | 100 | 25 | 340 | 310 | 400 | 305 | 4-ф20 | 250 | 135 |
| 32 | 100-70-22-2000-7.5 | 100 | 170 | 210 | 4-ф18 | 900 | 345 | 200 | 420 | 570 | 100 | 25 | 340 | 310 | 400 | 305 | 4-ф20 | 250 | 135 |
| 33 | 100-100-22-2000-15 | 100 | 170 | 210 | 4-ф18 | 970 | 515 | 200 | 420 | 680 | 100 | 25 | 340 | 310 | 400 | 305 | 4-ф20 | 250 | 240 |
| 34 | 100-80-30-2000-15 | 100 | 170 | 210 | 4-ф18 | 970 | 515 | 200 | 420 | 680 | 100 | 25 | 340 | 310 | 400 | 305 | 4-ф20 | 250 | 240 |
| 35 | 150-150-10-2000-7.5 | 150 | 225 | 265 | 8-ф18 | 920 | 465 | 270 | 520 | 620 | 150 | 25 | 400 | 370 | 500 | 405 | 4-ф20 | 335 | 205 |
| 36 | 150-210-7-2500-7.5 | 150 | 225 | 265 | 8-ф18 | 950 | 515 | 270 | 520 | 650 | 150 | 25 | 400 | 370 | 500 | 405 | 4-ф20 | 335 | 230 |
| 37 | 150-250-6-2500-7.5 | 150 | 225 | 265 | 8-ф18 | 950 | 515 | 270 | 520 | 650 | 150 | 25 | 400 | 370 | 500 | 405 | 4-ф20 | 335 | 230 |
| 38 | 150-150-15-2500-11 | 150 | 225 | 265 | 8-ф18 | 990 | 465 | 270 | 520 | 690 | 150 | 25 | 400 | 370 | 500 | 405 | 4-ф20 | 335 | 225 |
| 39 | 150-200-10-2500-15 | 150 | 225 | 265 | 8-ф18 | 990 | 465 | 270 | 520 | 690 | 150 | 25 | 400 | 370 | 500 | 405 | 4-ф20 | 335 | 225 |
| 40 | 150-65-40-3200-18.5 | 150 | 225 | 265 | 8-ф18 | 1206 | 565 | 270 | 520 | 850 | 150 | 25 | 400 | 370 | 500 | 405 | 4-ф20 | 335 | 250 |
| 41 | 150-180-22-2600-18.5 | 150 | 225 | 265 | 8-ф18 | 1226 | 565 | 270 | 520 | 850 | 150 | 25 | 400 | 370 | 500 | 405 | 4-ф20 | 335 | 250 |
| 42 | 150-150-26-2600-18.5 | 150 | 225 | 265 | 8-ф18 | 1226 | 565 | 270 | 520 | 850 | 150 | 25 | 400 | 370 | 500 | 405 | 4-ф20 | 335 | 250 |
| 43 | 150-110-30-2600-18.5 | 150 | 225 | 265 | 8-ф18 | 1226 | 565 | 270 | 520 | 850 | 150 | 25 | 400 | 370 | 500 | 405 | 4-ф20 | 335 | 250 |
| 44 | 150-130-15-2600-22 | 150 | 225 | 265 | 8-ф18 | 1265 | 545 | 270 | 520 | 880 | 150 | 25 | 400 | 370 | 500 | 405 | 4-ф20 | 335 | 280 |
| 45 | 150-130-30-2600-22 | 150 | 225 | 265 | 8-ф18 | 1226 | 565 | 270 | 520 | 850 | 150 | 25 | 400 | 370 | 500 | 405 | 4-ф20 | 335 | 250 |
| 46 | 150-100-40-3000-30 | 150 | 225 | 265 | 8-ф18 | 1200 | 565 | 270 | 520 | 950 | 150 | 25 | 400 | 370 | 500 | 405 | 4-ф20 | 335 | 250 |
| 47 | 200-300-7-3000-11 | 200 | 280 | 320 | 8-ф18 | 1130 | 600 | 275 | 580 | 800 | 200 | 30 | 480 | 450 | 570 | 400 | 4-ф20 | 330 | 265 |
| 48 | 200-250-11-3000-15 | 200 | 280 | 320 | 8-ф18 | 1130 | 600 | 275 | 580 | 800 | 200 | 30 | 480 | 450 | 570 | 400 | 4-ф20 | 330 | 265 |
| 49 | 200-300-10-3000-15 | 200 | 280 | 320 | 8-ф18 | 1130 | 600 | 275 | 580 | 800 | 200 | 30 | 480 | 450 | 570 | 400 | 4-ф20 | 330 | 265 |
| 50 | 200-250-15-3000-18.5 | 200 | 280 | 320 | 8-ф18 | 1226 | 600 | 275 | 580 | 850 | 200 | 30 | 480 | 450 | 570 | 400 | 4-ф20 | 330 | 280 |
| 51 | 200-400-10-3000-22 | 200 | 280 | 320 | 8-ф18 | 1226 | 600 | 275 | 580 | 850 | 200 | 30 | 480 | 450 | 570 | 400 | 4-ф20 | 330 | 265 |
| 52 | 200-200-20-3000-22 | 200 | 280 | 320 | 8-ф18 | 1226 | 610 | 275 | 580 | 860 | 200 | 30 | 480 | 450 | 570 | 400 | 4-ф20 | 330 | 270 |
| 53 | 200-250-22-3000-30 | 200 | 280 | 320 | 8-ф18 | 1236 | 610 | 275 | 580 | 860 | 200 | 30 | 480 | 450 | 570 | 400 | 4-ф20 | 330 | 270 |
| 54 | 250-600-7-3000-22 | 250 | 335 | 375 | 12-ф18 | 1236 | 600 | 352 | 710 | 800 | 200 | 30 | 550 | 500 | 610 | 500 | 4-ф28 | 425 | 265 |
| 55 | 250-600-9-3000-30 | 250 | 335 | 375 | 12-ф18 | 1236 | 600 | 352 | 710 | 950 | 200 | 30 | 550 | 500 | 610 | 500 | 4-ф28 | 425 | 265 |
安装尺寸表及示意图(续)

| T1 | T2 | L | M | m | n | e | E |
| 125 | 100 | 470 | 400 | 100 | 50 | 18 | 550×550 |
| 90 | 80 | 470 | 400 | 100 | 50 | 18 | 550×550 |
| 90 | 80 | 470 | 400 | 100 | 50 | 18 | 550×550 |
| 125 | 100 | 470 | 400 | 100 | 50 | 18 | 550×550 |
| 125 | 100 | 470 | 400 | 100 | 50 | 18 | 550×550 |
| 125 | 100 | 470 | 400 | 100 | 50 | 18 | 550×550 |
| 125 | 100 | 470 | 400 | 100 | 50 | 18 | 550×550 |
| 125 | 100 | 470 | 400 | 100 | 50 | 18 | 550×550 |
| 130 | 130 | 470 | 400 | 100 | 50 | 18 | 550×550 |
| 125 | 100 | 470 | 400 | 100 | 50 | 18 | 550×550 |
| 125 | 100 | 470 | 400 | 100 | 50 | 18 | 550×550 |
| 145 | 125 | 470 | 400 | 100 | 50 | 18 | 550×550 |
| 145 | 125 | 470 | 400 | 100 | 50 | 18 | 550×550 |
| 125 | 100 | 470 | 400 | 100 | 50 | 18 | 550×550 |
| 125 | 100 | 470 | 400 | 100 | 50 | 18 | 550×550 |
| 145 | 125 | 470 | 400 | 100 | 50 | 18 | 600×550 |
| 125 | 100 | 470 | 400 | 100 | 50 | 18 | 650×600 |
| 125 | 100 | 470 | 400 | 100 | 50 | 18 | 650×600 |
| 125 | 100 | 470 | 400 | 100 | 50 | 18 | 650×600 |
| 178 | 150 | 470 | 400 | 100 | 50 | 18 | 700×600 |
| 125 | 100 | 470 | 400 | 100 | 50 | 18 | 650×600 |
| 125 | 100 | 470 | 400 | 100 | 50 | 18 | 650×600 |
| 145 | 125 | 470 | 400 | 100 | 50 | 18 | 650×600 |
| 145 | 125 | 470 | 400 | 100 | 50 | 18 | 650×600 |
| 145 | 125 | 470 | 400 | 100 | 50 | 18 | 650×650 |
| 178 | 150 | 510 | 440 | 100 | 50 | 18 | 750×650 |
| 210 | 180 | 510 | 440 | 100 | 50 | 18 | 750×650 |
| 205 | 178 | 510 | 440 | 100 | 50 | 18 | 750×650 |
| 210 | 180 | 510 | 440 | 100 | 50 | 18 | 750×650 |
| 250 | 230 | 510 | 440 | 100 | 50 | 18 | 750×650 |
| 145 | 125 | 510 | 440 | 100 | 50 | 18 | 650×600 |
| 145 | 125 | 510 | 440 | 100 | 50 | 18 | 750×650 |
| 250 | 230 | 510 | 440 | 100 | 50 | 18 | 900×750 |
| 250 | 230 | 510 | 440 | 100 | 50 | 18 | 900×750 |
| 225 | 180 | 600 | 525 | 100 | 60 | 20 | 750×650 |
| 265 | 200 | 600 | 525 | 100 | 60 | 20 | 750×650 |
| 265 | 200 | 600 | 525 | 100 | 60 | 20 | 750×650 |
| 250 | 200 | 600 | 525 | 100 | 60 | 20 | 1000×800 |
| 250 | 200 | 600 | 525 | 100 | 60 | 20 | 1000×800 |
| 250 | 200 | 600 | 525 | 100 | 60 | 20 | 1000×800 |
| 260 | 238 | 600 | 525 | 100 | 60 | 20 | 1000×800 |
| 260 | 238 | 600 | 525 | 100 | 60 | 20 | 1000×800 |
| 260 | 238 | 600 | 525 | 100 | 60 | 20 | 1000×800 |
| 300 | 250 | 600 | 525 | 100 | 60 | 20 | 1000×800 |
| 260 | 238 | 600 | 525 | 100 | 60 | 20 | 1000×800 |
| 250 | 250 | 600 | 525 | 100 | 60 | 20 | 1000×800 |
| 295 | 240 | 600 | 525 | 100 | 60 | 20 | 1000×800 |
| 295 | 240 | 600 | 525 | 100 | 60 | 20 | 1000×800 |
| 295 | 240 | 600 | 525 | 100 | 60 | 20 | 1000×800 |
| 300 | 250 | 600 | 525 | 100 | 60 | 20 | 1000×800 |
| 295 | 240 | 600 | 525 | 100 | 60 | 20 | 1000×800 |
| 300 | 240 | 600 | 525 | 100 | 60 | 20 | 1000×800 |
| 300 | 240 | 600 | 525 | 100 | 60 | 20 | 1300×900 |
| 295 | 240 | 700 | 580 | 120 | 46 | 24 | 1300×900 |
| 295 | 240 | 700 | 580 | 120 | 46 | 24 | 1300×900 |
订购注意事项:
1.本网页显示的JYWQ、JPWQ系列自动搅匀排污泵安装尺寸、重量、图纸、图片、参数表等样本信息,为“LQ牌”排污泵厂家上海连渠泵业所有,请勿转载,转载必究。
2.上海连渠泵业有限公司是一家专业的排污泵生产厂家/制造商。生产的JYWQ、JPWQ系列自动搅匀排污泵,质量可靠,价格合理,如果还需要了解其他(排污泵),请来电咨询,我们也可根据客户要求专门定制。
3.由于编辑水平有限,以上信息仅作参考之用,错误和不妥之处在所难免,真诚希望您批评指正。
排污泵是一种泵与电机连体,并同时潜入液下工作的泵类产品,与一般卧式泵或立式污水泵相比,排污泵结构紧凑、占地面积小。安装维修方便小型的排污泵可以自由安装,大型的排污泵一般都配有自动藕合装置可以进行自动安装,安装及维修相当方便。连续运转时间长。排污泵由于泵和电机同轴,轴短,转动部件重量轻,因此轴承上承受的载荷(径向)相对较小,寿命比一般泵要长得多。不存在汽蚀破坏及灌引水等问题。特别是后一点给操作人员带来了很大的方便。振动噪声小,电机温升低,对环境无污染。上海连渠泵业生产的排污泵主要有AS型潜水排污泵,带切割潜水排污泵,GW型管道式无堵塞排污泵,自动搅匀排污泵,QW型无堵塞潜水排污泵,潜水轴潜流排污泵,XZW涡流不堵塞排污泵,YW型无堵塞液下排污泵,ZW型无堵塞自吸排污泵等系列排污泵产品,详细产品技术与咨询请直接联系上海连渠泵业有限公司相关销售人员或技术工程师。